BY C. G. BLATCHLEY SCHUTTE & KOERTING
Pumps operating on the ejector principle are in use on many processes. In an increasing number of applications it is necessary to apply controls. Ejectors are essentially a fixed capacity device since the diffuser area is constant. Therefore, they react to control impulses in a manner peculiar to their performance and the control system must be selected to conform.
By definition, an Ejector is a jet device which uses an operating fluid at a high pressure to entrain a suction fluid at a low pressure, discharging the mixture of suction and motive fluids against an intermediate pressure. An Ejector consists of a nozzle, a diffuser and a body, or mixing chamber, see Fig. 1. The nozzle is designed to produce a jet at high velocity by expanding the motive fluid from inlet to suction pressure. The design of the nozzle varies depending upon expansion ratio, state of fluid and type of the Ejector. Fig. 2 shows a converging nozzle for liquids and low-pressure gases, a spray nozzle for liquids, a converging-diverging nozzle for gases and multiple nozzle designs for gases and for liquids. The diffuser is designed to compress the mixture of motive and suction fluid moving at an intermediate velocity by converting the velocity energy to sufficient pressure to compress the nozzle and diffuser in the proper relation.

Fig. 3 shows how Ejectors vary in appearance and design depending upon the fluids involved and the required performance.
The Water Jet Eductor is liquid jet liquid pump.
The Water Jet Exhauster is a liquid jet gas pump. It may utilize a spray nozzle or multiple nozzles to improve contact with the suction gas.
The Fume Scrubber is a Water Jet air pump, designed for low drafts and large capacity.
The Syphon is a Stream Jet liquid pump which requires condensation of the motive fluid to reduce the work required for compression in the diffuser.
The Steam Jet Exhauster or Vacuum Pump is gas jet gas pump and is the basic stage for all high vacuum equipment.
The Steam Jet Blower is a steam jet or air jet air pump designed for large capacities at low drafts.
The Thermo-Compressor is a steam jet steam compressor, shown with a diaphragm-operated spindle for control purposes.

For high compression ratios a long narrow diffuser is used, and for low compression ratios a shorter, wider design.
Ejectors can be divided into two categories based on the type of performance. The first class is non-critical in operation and includes liquid jet liquid or gas pumps and certain types of gas jet gas pumps. The basic criterion is diffuser velocity less than critical, that is Mach numbers less than 1. A constant suction pressure can be maintained on such an Ejector at varying capacities by controlling motive flow. This is applicable to single stages operating at 15” Hg. absolute and above and to water jet exhausters. Constant ratio of motive to suction fluid can be maintained at varying flows by control of motive and suction pressures typical of operation of liquid jet Ejectors used as mixing devices. Fig. 4 shows the performance curve of a single stage exhauster controlled to 14” Hg. abs. showing uniform response to changes in motive pressure allowing smooth control. Fig. 6A shows control arrangement.
The greater majority of steam jet vacuum pumps are critical in performance and are, therefore, not susceptible to control in the same fashion. Fig. 5 illustrates the typical single stage exhauster for operation between 4 and 8” Hg. abs. Throat velocities are greater than critical. Such units exhibit responses to pressures changes which are not normally understood. It is not possible to decrease the motive flow below a point where the required velocity will be produced within the diffuser. It is standard in the industry to design such units for stable operation at zero suction flow with the motive flow maintaining the required volume and energy to produce the necessary diffuser velocity. This is known as “shut-off’ operation. Any decrease in motive pressure beyond the margin of safety designed in the unit will cause a discontinuity in operation and an increase in suction pressure under any given load condition. Any
increase in motive fluid rate will cause a gradual increase in suction pressure or decrease in capacity at a given pressure. Such a unit also has a limited discharge pressure. Any increase in capacity and in most cases reverse flow through the suction.


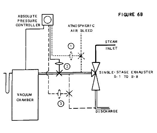
In order to control the suction pressure of such a unit at varying loads it is, therefore, necessary to either replace the process fluid with another suction fluid (1) or introduce an artificial pressure drop as shown in Fig. 6B (2). The common control method is to bleed atmospheric air through a valve operated by an absolute pressure controller. For small units a direct operated or controller operated butterfly valve is used to throttle the suction flow. If addition of air overloads an aftercondenser or carries over objectionable fumes to atmosphere, the discharge mixture from the ejector can be recycled to control (3).
An Ejector operation in the critical range is designed for a fixed compression ratio and requires a definite motive steam flow. For example, a High Vacuum exhauster operating at 150 psig steam pressure compressing from 1” Hg. abs. to 6” Hg. abs. The same Ejector can be made to operate with essentially the same suction capacity and pressure discharging against a higher back pressure simply by adding more motive steam, see Fig. 7. Conversely, a reduction in motive steam will reduce the allowable back pressure. This is true over moderate changes in steam flow. The operating region of the suction-capacity curve is unaffected, although the limits at zero suction flow (shut-off) and maximum suction flow will vary.
The discharge of a single stage exhauster is normally fixed by discharge to atmospheric pressure. In multi-stage units each stage has similar characteristics but the inter-stage pressure is fixed by the design of the unit. During actual operation this pressure varies with the relation of the load to the atmospheric stage capacity and with the condenser water flow and temperature. In order to maintain satisfactory operation of the primary or high vacuum exhauster it is necessary to maintain the correct support pressure. Therefore, any controls applied, must not adversely affect the performance of the atmospheric stage exhauster.



Fig. 7 shows discharge pressure curves for five steam rates in a given primary exhauster. The dashed curves show the condenser pressure attained by various sized atmospheric stages. The dot-dashed lines show the affect of condenser water temperature. It can be seen that the length of the capacity curve obtained depends upon the atmospheric stage capacity.
The basic multi-stage unit is two stage with inter-condenser, either a direct contact, see Fig. 8, or surface type. The primary or high vacuum ejector is designed to operate at a fixed motive steam pressure. It is critical in operation and, therefore, the same technique as in the single stage of replacing load to control suction pressure is followed. See Fig. 9. If the process load is non-condensable, both stages of the ejector have been designed to handle equivalent loads and replacement of the load by an air bleed has negligible effect on the support pressure (1). Most applications involve the pumping of both condensable and non-condensable vapors. In such cases, the atmospheric stage may be designed to handle only the non-condensable portion of the load saturated at the condenser outlet conditions. This is possible since much of the condensable load is removed in the inter-condenser. In such cases, replacing the process load by a non-condensable gas will vary the load on the atmospheric stage and, therefore, vary the support pressure. If the unit is operating at the design load, this increase in non-condensable load will raise the support pressure and cause a discontinuity in operation of the high vacuum exhauster. If the load changes are small, this will result in an unstable condition with a definite departure from straight line control. Large changes in load, cause a semi-stable condition. In such cases condensable vapors should be bled in; either steam, or a mixture of steam and non-condensables from the exhaust of the atmospheric stage (2). When designing for loads containing large amounts of condensables, the overall operation is less costly if live steam is bled into the suction connection for control when the load decreases, rather than installation of a large enough atmospheric stage to handle the entire load as non-condensable. A throttling valve (3) may be used in the suction line, but this requires a large valve and introduces a pressure loss at full load.



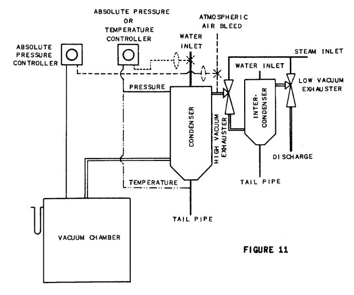
On evaporators, crystallizers and similar processes large amounts of condensable vapors must be handled. It is possible to handle these vapors with a condenser followed by an air ejector, see Fig. 10. Controls may be applied to such units for two purposes: to control the suction pressure at varying loads, or to reduce the quantity of cooling water used at low loads or low water temperatures, Fig. 11. The condenser water may be throttled using either an absolute pressure controller or a controlling thermometer measuring tail pip temperatures. This control must be limited to prevent throttling below the minimum water required by the condenser. This may be between 30 and 50% of the maximum, depending upon condenser design. Reduction below the limiting flow causes breaks in the water curtains allowing steam to by-pass to the air outlet. This control will not only maintain the proper water flow under constant load conditions, but will also control to maintain constant suction pressure since the tail pipe temperature is a measure of possible condenser pressure. Complete control of suction pressure may be obtained by bleeding replacement load into the ejector suction after the condenser with the limitations discussed in relation to operation of two-stage units.



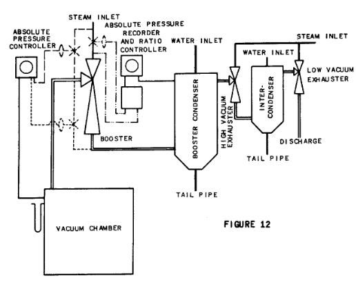
Where the suction pressure is below the maximum attainable with available condensing water temperature, large steam ejectors, known as “boosters” or “ thermo-compressors” are used. Such devices have a large first stage and condenser and a small air pump, usually the two-stage type, Fig. 12. It is not possible to control the suction pressure by bleeding in non-condensables since this will quickly overload the air pump, raising the inter-condenser pressure beyond the critical point. In this case, the proper method is to bleed in condensable fluid. The discharge of the booster can be by-passed back to the suction, but the pressure drop across the control valve would be quite low, 2” to 3” Hg. abs. requiring a very large valve. The more usual method is to bleed in available low-pressure steam or by-pass steam from the motive line. In either case, an absolute pressure controller or a temperature controller in the process vessel may be used to operate the valve.
In addition to the suction control, or when suction pressure is not controlled, an arrangement has been developed to save motive steam. The condenser and air pump must be designed to provide the proper support pressure for the booster at maximum load and water temperature. Reductions in load or seasonal reduction in water temperature allows the condenser and air pump to lower the pressure at the outlet of the booster. If this pressure is reduced below the design conditions, the motive steam to the booster may be reduced. The ejector is required to operate across a lower compression ratio and, therefore, requires less motive energy. The relationship between support pressure and motive steam pressure must be determined by test. An absolute pressure controller is used to adjust the control point on a steam pressure controller either by means of a cam or an adjustable ratio control. The ratio control is more flexible since it allows adjustment after installation to meet exact operating conditions. The steam pressure controller will also take into account variations in steam line pressure. Fig. 13 shows possible steam savings at two condenser water temperatures and two design load conditions. The slope of the curve varies with suction pressure. Since the actual operating conditions usually vary from the design conditions, the adjustable ratio feature allows setting to match the actual condition. Ratio control is, of course, in a straight line, but this makes very little difference in actual steam savings. A reduction in cooling water temperature of 10° allows an appreciable saving in steam. Based on steam at a dollar per thousand, this particular booster would operate at a saving of about 44 cents per hour. Figuring 1400 operating hours in about eight months of low water temperature, we would estimate savings at $600. Approximate control costs, including the steam valve, would be $1000. This would pay for the controls in approximately two years. If continuous operation is involved, the controls could be paid for in less than a year and would, therefore, be definitely advantageous. Larger boosters than this are more common and savings easily justify the additional cost of control.
Another method of adjusting ejector capacity is used where ratios of suction and motive flows must be maintained or where there is a reservoir in the system. Gas compressors used for mixing gas and air at exact ratios are installed in multiple and turned on and off in sequence, to obtain the required capacity. Fig. 14 shows a four jet installation sized to give 15 different rates of flow. The mixing ratio is controlled by maintaining a constant pressure boost from suction to discharge. Fine adjustment to cover seasonal changes is obtained by readjusting the control point by means of a controlling calorimeter. A similar procedure is used on steam jet water chillers, shown in Fig. 15. A temperature controller is arranged to turn ejectors on or off. In most installations manual selectors are set up to allow manual control of any given booster. This simplifies the control and allows the operator to select the number of boosters to be run at different seasonal load changes. The residual heat capacity of the flash chamber allows control to plus or minus 1F, by this method. The recorder curve obtained will show oscillations of this magnitude and the period of oscillation varies depending on the relation of the load to the capacity of the booster being turned on and off. In order to properly apply controls to ejectors, it is necessary first, to determine whether the unit is of the non-critical or critical type. The ejector process must then be analyzed so that the method of control will not cause discontinuities or instabilities in performance. When these factors are taken into account, ejectors are very susceptible to control. The extremely short time lag involved in the ejector process and the accurate response of ejectors to changes in condition in the stable range, permit very accurate control.

